
朋友,你是否不甘心自己当下平庸的生活,即使出生寒门,依然满怀激情怀揣着创业梦想 ?但苦于没有背景和资源,也没有贵人相助,一直在苦苦摸索寻找靠谱的互联网项目?或者还在犹豫徘徊不知所措?你是否有真正了解过互联网“知识付费”这一蓝海项目?你是否知道拥有一个属于自己的 “知识付费” 资源站意味着什么?……….
现在的社会,如果你(没权、没势、又没钱、没背景、没学历)但又不想认命,当你的才华支撑不起你的野心时…….那么我建议你在互联网闯一闯,因为当下互联网是普通人创业的最佳时机。它属于轻资产创业,对于我们每个人而言机遇和起点都是公平的,做互联网只要你选对了赛道和方向,执行力强,有坚定的信念,那么你的人生就会像开了挂一样让你逆袭翻盘,对此我深有体会。
现实生活中,很多人辛辛苦苦一辈子,最后仍然生活在社会的最底层。(所以,能不打工就尽量不要去打工,打一辈子的工,你打了个啥?打了个车贷,打了个房贷,打了个职业病,还把自己大好的青春年华全给搭进去了,老板看你不顺眼,骂你几句,你哼唧都不敢哼唧一声,然后领导盯着你干活,你就像做贼似的做事,做少了会骂你,做多了工资还不给你加,用到你的时候给你点窝囊钱,用不到你的时候,一脚给你踹老远,TMD )
“有钱人只要不瞎折腾,一辈子都是有钱人;穷人只要不瞎折腾,一辈子都是穷人” 普通人不赌不拼可以说是没有丝毫机会,总有一代人要去拼,你不拼,你的下一代就要去拼,那么互联网可以说是我们普通人翻身的最好机会!
如果你不想认命,想拥有一份长期的事业或副业,想收入翻5倍10倍甚至更多,那么这篇文章你一定要仔细看完,因为会彻底颠覆你对互联网赚钱的认知,从这一刻起有可能会改变你的命运。乾坤未定,你我皆是黑马,趁年轻,趁还有机会,多努力奋斗吧!干才有希望,不干一点希望都没有,加油,兄弟们!!!
大家好,我是85年的老刘,一个实体创业失败者……于是混迹于互联网创业8年多时间,中专毕业没什么文化,跟大多数人一样,就是个普通的不能再普通的人(进过厂,干过销售,没有干过什么高级的工作,做过小买卖最后都是干倒闭),精彩的文章我也写不出来,初中写的作文,从来没及格过(哈哈),比不了那些高材生,大家就将就着看哈。
曾经我也是一个小白,对互联网创业一无所知,刚开始进入互联网的时候每天都像无头苍蝇一样在网上到处找项目,因为对互联网认知太低,什么项目能做,什么项目是割韭菜的根本不会分辨,所以被人当韭菜割了一次又一次,想想就心酸………不过这对我来说也是一种成长,今天给大家分享一下这几年做互联网的心得,希望朋友们在互联网创业中少走弯路。
没做互联网之前,我是做实体生意的,跟朋友合伙投资几十万开了一家糕点店,糕点大家应该都不陌生吧,相信很多人都吃过,学手艺好几年攒了点钱,我也想当老板自己干,可能我不是这块料,开店这一年多,把辛苦攒下来的钱都赔光了,然后卷铺盖回家了,回到家已经身无分文,穷途末路了,信用卡欠了10多万,办了十张XYK, 懂的人都懂为什么要办这个多XYK,那时候都快被这个信用卡搞死了,目前已经成功上岸,还没上岸的兄弟要加油啊,去干去折腾才有希望。(奉劝各位千万别用XYK,那就是个无底洞)
这是我当时开的店(现在打死我都不会投资几十万去开店,真是后悔没早点接触这个行业 ,做互联网的好处真是太多了,白手就能起家,还能陪在家人身边,不用为了钱东奔西跑, 平时想去哪玩,只要带台手机出去也不耽误赚钱,唯一的不好就是需要长时间对着电脑会有点伤身体,所以做互联网的兄弟们,平时也要多锻炼身体,健康才是第一,其他的一切都是浮云)

那时候,在家里也闲不住,刚好家里有台闲置的电脑,就抱着试一试的心态开始在互联网看看能不能搞点米,也没想着赚多少钱 ,能维持生活就心满意足了,就这样子开始了我的互联网之路。
说干就干,于是到处找项目,那时候薅羊毛比较火,白嫖了一个撸货的技术,那时候全网都在撸货,其实也不叫白嫖, 天下没有免费的午餐,撸一单他从我这里赚了几块,别人辛苦教我,赚点钱也是应该的,我那时候还是比较感激的,最起码我每天都能有点收入。
然后每天撸啊撸,从早撸到晚一天赚个一两百,除了上厕所,吃饭时间基本都呆在电脑旁边,就这样的做了几个月,做的时间久了,路子就做通了,开始加设备,找了几个兼职,那时候一天也能有500+的收入,做了半年后来因为平台风控,账号原因就停了。
既然走上了这条路,那就不能停啊,这个做不了,就做别的,又开始找项目,找了个大佬学APP拉新,镰刀一挥,就是688,做拉新确实也能赚点钱,做了一段时间平台风控了,项目又黄了,没办法啊,接着找项目,找了个游戏用脚本挂机的,开口就是1980,这回变聪明了,找了几个志同道合的,一起拼个车,又开始干了,投资加电脑,先买了2台电脑回来试试,干了半个月才发现被割韭菜了,说好的月入几万,原来是他月入几万,一台电脑累死累活一天18个小时就赚几十块,果断放弃,(互联网小白最喜欢的看到的就是什么挂机项目,什么日入几百的项目,因为这些话术特别容易拿捏他们,然后交钱就开始干,别做梦了,你什么都没付出就能日入几百,那中国就没有穷人了,即使有也轮不到你,每天我都在接触很多各种各样的人,基本上每天都有人问我:有没有不用时间就能赚几百的项目,有没有挂机月入几万的项目,有没有特别轻松就能赚钱的项目,遇到这类人,我都会说有,你要说没有跟他讲道理,他会跟你急的 ,他会说你是垃圾,傻逼,这种人我只想说:都是成年人了,努力和赚钱是对等的,这个道理你都不懂吗?你穷的只剩时间了,你还想着怎么节省时间!你等着天上掉馅饼吗?( 成年人的世界永远都是只筛选,不教育 )
不能停啊,继续找项目,后来陆陆续续做了很多小项目,什么手机游戏挂机啊,打金啊,各种薅羊毛啊,往往都是付出的跟收入不成正比,一直在不停的找项目,做项目,韭菜被人割了一波又一波。唯一值得庆幸的是没投资过重资产创业,大家千万别做那种一次性买十几台电脑,几十部手机那种项目真心别轻易尝试,别轻信别人说可以无限放大,因为不确定因素太多,倒在这些项目上的人比比皆是。
我认识的一个朋友做虎牙挖宝,一个软件几W,别人稳定了2年的项目,他干了两个月,项目黄了,现在回想起来互联网水实在太深了,做互联网创业能实现财富自由的人确实不少,但是更多的人可能只能维持生活,或者比上班强一点,也有很多人慢慢的失去了对互联网创业的信心。在互联网创业能坚持下来的人,真是少之又少。(以前我做项目的那个圈子,现在99%都退网了,为什么呢?因为做项目都有周期性,时效性,你要不停的去找项目换项目,但是能赚到钱的项目少之又少,很多人维持不住生活,最后只能退网了)
这一路走来, 我明白了一个道理,互联网的终点站就是卖项目,做项目真的太累了,花了钱还浪费时间跟精力,最后还很难拿到结果,但是卖项目比自己做项目要赚得多的多(那些大割们卖你一个项目就赚你大几百几千,而你还在傻傻的操作那个项目,累死累活一天才赚几块钱,好点的一天也就赚几十块,是不是这个道理)?而且卖项目是个长期可持续的好路子,能够让你长期立足于互联网,不用担心三天饿九顿,不用担心这个项目黄了,下个项目我要做什么。
于是我也尝试卖项目,就是男粉项目,这是我一直在做的项目,也是真正能赚到钱的项目,把自己花了很长时间摸索出来的经验和方法教给别人,让别人少走弯路实现快速变现,收费也是理所应当的。
卖项目的第三天,我一次就收到了2个学员,他们购买了我的男粉项目,我收了398,一天就赚了800。这来钱速度比自己累死累活买一堆课程和设备自己做项目快的多啊,尝到了甜头之后,于是我开始了深耕卖项目收学员这条赛道。
这个男粉项目我做了一段时间,也挺挣钱,就是废账号,要一直买账号,有时候买的账号都回不了本,赚的也是辛苦钱,天天熬夜搞,一天也能赚个300+吧,运气好,一个账号就搞1000+
所以你要明白一点:今后想通过互联网赚钱的人会越来越多,你是想去跟他们竞争?去跟他们一起内卷?还是想要比他们高一个阶梯,去做源头卖项目给他们,去赚他们的钱?答案很明显,当然是要去赚那些想通过做项目赚钱的人的钱啊;谁想赚钱,我们就先赚谁的钱,想通过互联网赚钱的人是永远不会消失的,而且会越来越多。
现在网赚圈普遍存在一个现象,几乎99%的人都被割过韭菜,普通人做项目,赚钱越来越难,各种网赚项目更新速度太快了 ,有的项目几天就死了,长久的能搞几个月,做项目累死累活一天赚个几百,反观 “卖项目、搞培训 ” 的从来不需要换项目一直在做,很多人已经赚得盆满钵满,到了年底不是提豪车就是买豪宅。
社会规则永远都是二八定律,80%的人永远被那剩下的20%操控着,大多数小白所能接触到的项目和信息基本都是被那20%的人筛选过又精心包装出来的,你们所看到的,都是那20%的人想让你们看到的;如果你真的想靠自己实实在在做项目赚钱,我劝你趁早退出这个圈子。说这话可能有些武断,但事实证明个人想做好项目并赚到钱真的很难。你可以好好想一想,你曾今做过的那些项目中,有几个能真正赚到钱或者赚回学费的?
那么,我们应该如何跨越这道鸿沟,成为那20%的人呢?
这里我要重点说明的是:首先要把韭菜思维忘掉;韭菜思维认为,我没赚到钱是因为没找到好项目,以及自己不够努力;如果我找到一个好项目,埋头苦干就一定能赚到大钱,事实上你大错特错了。
我相信看到这篇文章的大部分人曾经都被割过韭菜,剩下的一小部分可能是刚接触互联网的小白,但被割韭菜也只是时间问题。
你可以仔细回想一下被割韭菜的经历,整个流程中收益最大的人是谁?是一个星期赚不了100块钱的你,还是卖一个项目就能赚到你钱的那个人?
其实不是你不行,而是你所做的那个项目根本就不赚钱,你根本看不明白他们的变现逻辑是什么,项目存活周期是多久;他们不是靠做项目赚钱,是靠画大饼,然后卖你一个项目及所谓的学习教程,收费大几百几千来赚钱的!
第一种是小白:看到那种暴力无脑只需要简单的复制黏贴,就能轻松日入300-1000,并承诺全程陪跑,100%赚钱;他们看到这样子的项目就好像在沙漠里面发现绿洲一样,无论付出什么代价都要搞过来尝试一下,觉得只要搞过来就可以不用上班在家躺着赚钱了。有这样子想法的人真不在少数,那么被割韭菜的概率也几乎是100%
第二种是白嫖党:总觉得要收钱的都是割韭菜的,不接受任何付费服务,所以他们在网上各种找项目,觉得合适的就去尝试一下,几天下来发现没效果,再去尝试别的项目;这样子很长一段时间,都是在网上找项目,尝试项目,在一次又一次的找项目过程中荒废自己大量的时间和精力,最后自己感觉就是网上的赚钱项目根本赚不到钱,都是骗人的,只能老老实实去上班了。
成功的秘诀就是:“站在前人的肩膀上,借鉴前人的智慧和经验,快速拿到自己想要的结果 ” 千万不要把自己宝贵的时间浪费在自我摸索的过程里,自我摸索其实是最浪费时间的,并且很难拿到结果。一个项目是否能真正落地,可能有几十个细节和要点,事实上付费学习是可以让我们最快拿到结果的有效方法。因为成功的经验,都是别人花了大量的时间,精力,和金钱一步步实践出来的。一个细节点,你自己要摸索很久,但有经验的人几句话就能帮你点透,而你只需要花一点小钱就可以得到自己想要的信息。互联网上公开的大部分赚钱项目,基本上都是过失无用的,不仅浪费你大量的时间和精力,还会误导你看待事情的角度和发展趋势,最后还磨灭了你尚且不十分坚定的信心。
成年人的世界,切记 “天下没有免费的午餐 ” 若你没有试错的勇气,和承受试错成本的能力,那你就老老实实回到厂里去打螺丝 ………
大家也可能做过很多项目,无论你是大咖,还是小白,都要有一颗持之以恒的心,没有一夜暴富的项目,大家不要有不切实际的幻想,一定要脚踏实地的去做,只有努力了才会有结果;所以大家一定要保持一个良好的心态,选好一个能落地可行的项目,持之以恒,一直坚持努力的做下去,才会得到你想要的结果;成功不是一蹴而就,而是慢慢积累起来的,想要赚大钱一定是要做有积累的事情。
如果你想在互联网创业,那么最主要的问题是你首先要去找项目,外面的项目琳琅满目,动不动都是收费大几百,大几千的项目,最后能不能落地实操,生命周期有多长,能不能真正的赚到钱还是个未知数?网络上人人宣传的项目,其实都是早已过时,被别人做烂了才放出来的,肉都被吃完了,到最后我们只能喝点汤,有时候可能连汤都喝不上。社会的真相是 “我们所看到的了解到的,事实上只是别人想让我们看到的。说到这里你应该不会再去傻傻的做项目了吧?应该都明白互联网项目的终点站就是卖项目!
那应该如何去卖项目呢?
我们不要去跟那些大佬们一样把某一个项目进行包装,他们自己都很难拿到结果的项目,然后拿出来卖,去收割别人大几百,几千,那样真的是丧良心。
第一,拼多多无货源电商,有人跟我说过他做拼多多无货源电商的经历,免费教学,他们宣传说是赚供应链的钱,你只需要负责售后,他们帮你发货,帮你上品,推广需要你自己花钱,开店第一天就给你上推广,卖的是榴莲,推广花了3000多,出了900多单,发了17000多的货,结果700多单退款的,才收回来3800,后来要求退钱,就开始扯皮,要求这要求那,真是踩大坑了,所以,要记住免费的往往就是最贵的!
第二,抖音无人直播带货,抖音目前是抵制无人直播带货的,你和平台对着干,你可能赚到钱吗?竟然还有人相信别人有这个技术让你的号不违规,不会被封号,永不下播…….事实上,你有多少号平台会给你封多少号,最后的结果就是钱打水漂,所以,对抗平台的项目不要去碰。
第三,游戏挂机打金搬砖,广告词大多数都是,免费教学,简单轻松,日赚500+,有电脑就能做,有手机就能做,对外宣称单机月入200-500不等,甚至大几千,或者过万的;游戏道具包回收,好像你只需要配上几台电脑,就能月入十几万,年入几百万,老板对你很热情也是免费教你,开始随便给你点甜头,然后引导你手动操作太慢了 ,推荐你买脚本,一个脚本几百块,脚本不单卖,要买就买几个月的,一顿给你忽悠,让你觉得买完脚本你就要发财了,你一次性买个6个脚本买完脚本你就上当了,号全给干废了,你去找老板,老板说你操作不对,让你继续买脚本,哈哈
第四,短视频,图文带货,短视频确实成就了不少人,但是做过带货的伙伴应该都知道,这玩意普通人根本干不了,一个月能出一单就烧高香了,当然不是说带货不挣钱,而是打着教你做带货的一定不挣钱,认清形势,凭什么你交几千块就能让你带货赚几十万?
第五,中视频计划,时代变了,工作室账号成本一个300打底,个人去做,投入的时间成本跟回报不成正比。当然做还是能做的,付费学习就算了;找个知识分享赛道或者科技知识赛道干就行了,影视解说和直播播剧这类还是算了,都已经烂大街了。
第六,搬运短剧带货,废号,关键是盈利来源于带货,带货需要什么都知道吧,一个号被和谐了起码一个月用不了,保证金也扔进去压一个月!
如果你手里真正有靠谱稳定的项目,那确实可以拿出来卖,把你的经验跟方法教给别人,收别人学费,那也是你应该得到的;如果想学那些大佬们,靠割韭菜发家致富,劝你还是算了吧。
既然卖项目99%都是割韭菜,那我们应该如何正确的进入这个赛道呢?
在这里说下我是如何去卖项目的,我卖的并不是某一个项目,而是运营自己的一个互联网项目资源整合站 “Ai数字电商” 网站。
Ai数字电商资源站是做什么的?
本站目前拥有1W+N个互联网优质项目,每天都在持续更新全网火爆风口的项目资源,很多都是外面卖几百几千的项目,有的甚至不止,但我们这个平台上面全部课程加起来才卖98元,单课程卖9.9元,如果你是单纯的想做项目,可以开个98元的网站月会员,看到好的项目可以自己去试一试,试错成本会很低啊 !所以对有需要的人来说是很值得,可以减少你的信息差,杜绝被割韭菜的风险!(网站里面的项目大家也要理性看待,做网站的初衷是 “ 杜绝割韭菜,减少试错成本 ” 。任何项目都不可能适合所有人,好的项目也不是每个人都能够做好,教程只能说给你提供一个思路跟方向,不是说你看了资料就能马上挣到钱,任何项目都有人挣钱,挣多挣少全靠自己本事,教程只是告诉你这个项目的存在以及如何操作,仅此而已)
第一、认准赛道,我看好卖项目这个赛道,但是我不想当大割,单课程卖9.9,开通网站会员仅需98,即可免费学习下载全站资料,这个性价比非常高,这个不是割韭菜吧?
第二、需求群体庞大,以后网络会越来越发达,想网上赚钱的人会越来越多,那些想在互联网赚钱的人都是我们的潜在客户;平台有很多他们需要的且可用于引流的课程,例如:小红书,抖音,快手,视频号……等自媒体课程,以及各种互联网赚钱的项目;换句话说,只要是想在互联网上赚钱的人都是我们的目标用户。
第三、稳定,能够让我长期立足于互联网,不用担心这个项目黄了,又要花时间去找下一个项目。
第四、操作简单,不跟我以前做项目一样,需要买一堆设备,下载一堆软件,进行各种复杂的操作,做项目是真的心累,做过的人应该都知道。
01.收益怎么样呢?
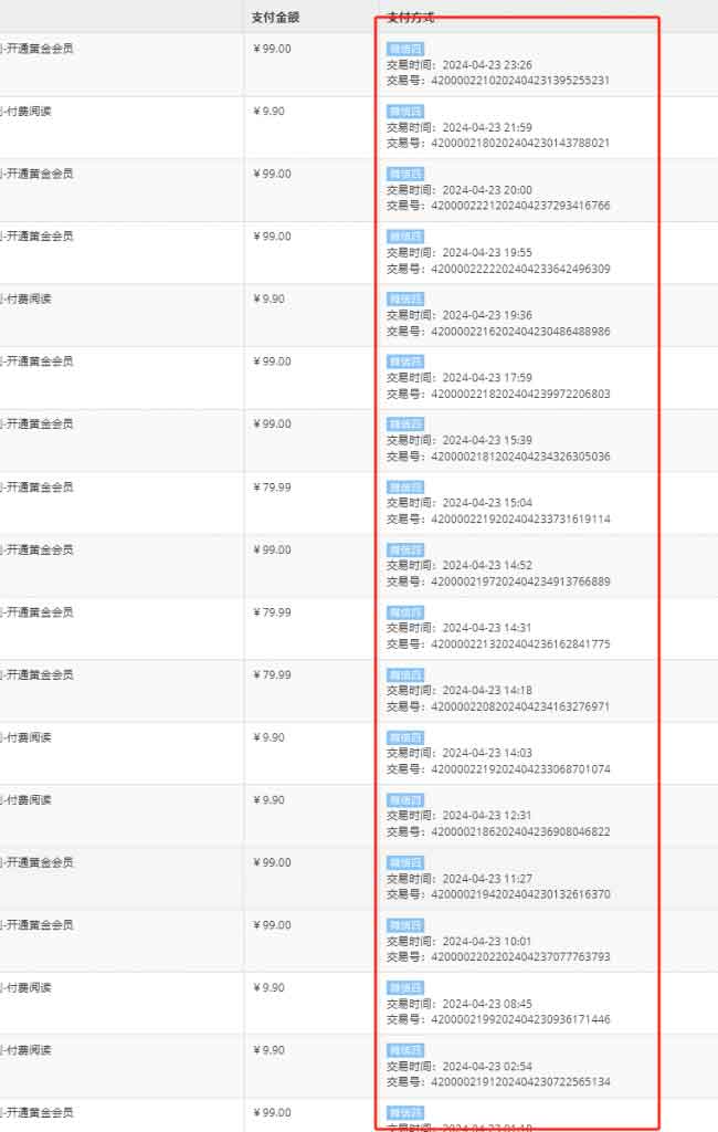
目前我靠自己的网创资源站每天收益稳定在1500+,一个月的收入在5W+,说实话在此之前,我也是一个韭菜,从未想过卖项目可以这么赚钱,让我心里感受到了巨大的落差,现在回想起来,当时我真是太天真了,如果我能早点明白这个道理,可能我早就起飞了,所以赛道选择真的太重要了。可能你觉得我是在吹牛,这个并不重要,我在互联网摸爬滚打的这8年时间,交过的学费,走过的弯路,吃过的苦,只有自己知道。
给大家展示一下我做网站的收益图吧,请看下面图示,这是比较辉煌的时刻,最高一天靠网站给我带来了将近1万的收益,对于很多人来说想都不敢想,说实在的我当初也没想过,我当初做互联网只想着能解决下温饱问题,1天赚1万什么概念?我以前上班一个月才5000,现在一天时间就赚了我过去两个月的工资,所以说互联网有无限可能,但是你要认认真真的去干,路都是自己走出来的,干了才有希望,不干一点希望都没有。
还有我平时分享的资料顺带做的拉新每天都有大几十,虽然不多,但是稳定,可能很多专门做这个拉新项目的人想赚到这个收益都有点费劲
我这套模式:门槛低,无论是个人还是团队,都可以操作运营。如果你不想认命,那你不如在互联网闯一闯,用四两拨千金;还是那句话,在互联网做项目不如卖项目,卖项目才是那个最赚钱的项目。
如果你觉得我这个模式可行,可以加盟,费用也不贵,就是你买件新衣服的钱,就可以搭建一个跟我一模一样的网创资源站,1:1复制我的赚钱模式;当然,你网站后期的收入,完全取决于你的推广效果。
人的一生,敢闯才有机会,敢拼才有未来, 干了才有希望,不干一点希望都没有;给自己一个翻盘的机会,在自己能够承受的范围内,一定要多去尝试,敢于尝试,就会比别人多出许多成功的机会。像我从来都不是一个拖拖拉拉磨磨唧唧的人,只要我想做某件事,在我能力范围内,我立马就会去做。
做加盟商,就是我们帮你搭建一个和 “Ai数字电商” 一模一样的知识付费网站,教会你如何运营自己的网站来卖项目赚钱;网站建好后,完全属于你自己,你本人的独立域名,网站收银台接入你自己的收款码,因为你自己即是站长也是老板,网站所有联系方式都是你的,网站所有权归你个人持有 ,网站独立运营,产生的所有收益都是属于你个人的。
我会把我做网站的经验、怎么搭建网站、怎么对接支付收款、怎么去引流、都会全部教会你,都有非常详细的课程讲解,就算你只有小学文凭也都能看懂,不懂的也可以随时问我,或者请教加盟商群里面的伙伴们,相信他们会很愿意分享他们的经验!
下面是我自己录制的一套完整课程

1,一对一扶持搭建网站(电脑版 、手机版、安卓app 、苹果app 、公众号)
2,市面主流支付接口全部都有,通用(微信、支付宝)
3,全网资源更新速度最快,项目最新,资料最全!工具一键同步更新
4,特供第一手无水印资源(无任何第三方水印),让你立足于不败之地,吸粉引流超给力,每天更新
5,网站自带1万套课程数据,加盟后数据库直接导入你的网站,直接开始运营赚钱,免去前期资源更新烦恼
6,后期最新资源和技术方法同步更新
7,提供原创引流技术,主动引流+被动引流渠道
8,拥有网站的所有权,完全独立,自主管理,自主收款,所有收益归加盟商!
9,提供永久售后一对一运营指导,加盟商交流群
我们可以直接把成熟的网课系统和运营经验复制给你,整站数据库导给你。你把节省下来的时间,可以去做推广找流量,去做成交,后面逐渐有了客户,很快就回本了。找一个稳定、靠谱、有结果的人带你,这是入行最快的方式!
1、卖VIP会员:价格可以在后台自由设置,VIP会员设置98、198、298不等,一天卖一两个就是几百块,后期积累用户多了,收益只会越来越高。
2、卖单课:每个课程都可以设置价格,网站课程1万+
3、招网站加盟商:你可以打造自己的网站品牌,自己去收加盟,收多少价格自己定。
4、做培训:网络培训衍生线下培训,都是高收入来源!
做知识付费资源站,后期没任何成本,全部都是纯利润! 知识付费行业未来会越来越吃香,对此我深有体会,月入5W+ 并非遥不可及。知识付费,是普通人逆袭的唯一希望,早明白早挣钱。
不做任何收益保障,想要收益有保障的去找那些 “大割们” ,我只能承诺把我自己花了很长时间,踩过很多坑,摸索出来的做网站的经验和方法毫无保留的教给你,跟着有经验,有结果的人学习,会让你少走很多弯路,少踩很多坑,也比那些自己摸索的人更快的拿到结果!
方法告诉你了,赚多赚少与自己个人执行力有关,努力干一个人一年在家赚50万+,三天打鱼两天晒网的,这种人不要来浪费时间了!能拿到结果的前提一定是要去干,你不去干,那一切都是0,我也救不了你啊!
全程一对一服务,包教包会,后续有任何问题都会给你解决!在我这里绝对不会出现交钱不管事的情况,这个我是可以100%保证的,因为我也是从很难的时候走过来的,非常理解大家的不容易。
那么网站搭建好之后,肯定要去推广引流找精准用户吧(互联网创业,副业粉),不然你在好的东西没人知道也要烂在手里,当初做网站的时候,我觉得引流应该很简单吧,因为现在大环境不好,生活压力变大,很多人都想在互联网做副业赚钱(给自己多一份收入)或者创业(在互联网创业可以说成本是最低的,主要还自由。比如我就比较喜欢自由,呆在家一台电脑,一台手机就能把钱赚,自己当老板,平时想干嘛就干嘛。出去玩带台手机也不耽误赚钱,也不用为了钱还得给别人低三下四, 看别人眼色。
其实最大的难点是在引流,前期我在引流这块下了很大的功夫。因为我之前一直做项目,对推广引流这方面,完全是一片空白,网站开发到上线我才用了不到1个月的时间,但是引流足足花了我两个月的时间才稳定下来,前面两个月基本上每天要花10多个小时去研究引流。
说说我艰难的引流之路吧(引流让我付出了相当大的时间成本,一般都是研究到凌晨两三点才休息)
都说同行是最好的老师,一点都没错(现在外面很多人都在模仿我)那就各大平台找对标账号,学习那些卖项目的大割是怎么引流的。
在引流上面我踩了很多坑,走过很多弯路,花了很多不必要花的钱,对我来说这也是一种成长,人生没有白走的路,走的每一步都算数,我不会放弃,我不服输,我看好这个赛道,我就要把他做好。经过长时间的摸索,我终于研究出了适合我自己的六套引流方案,每天只需要一两个小时就能搞定,我目前能保持每天精准粉80+,这套方法同样也适合每一个普通人;你能解决别人解决不了的问题,你就能赚到别人赚不到的钱。
那么做引流,我有三不做:
第一,会封号的不做,做引流最重要的就是不封号,所以我不玩废号流,好比你辛辛苦苦经营的几个月的账号,好不容易流量起来了,结果号封了,你又要重新花时间起号,那你不就是又断流了吗,所以做流量一定是要稳定,不要这顿吃饱了,下一顿还还不知道在哪!
第二,太费时间的不做(我也没有太多的时间和精力)
第三,要动脑写文案的不做(我就中专毕业,真没这个水平)
引流之路我从来没有停止过,一直在尝试研究新的方法,只要找到一个可行的方案,那么我就会放大矩阵去做,只要你去做好一个,那么你就不会缺流量。
如果你也看懂了卖项目这个赛道,那我会把我的经验和方法毫无保留的教给你,让你少走弯路,少踩坑,这就是知识付费的意义,花一点小钱直接买别人的核心经验和方法,就是成功最快的途径。

想从事互联网行业,想和我一样立足网络,想在互联网上拥有自己的地盘!但缺少资源,缺少技术,缺少经验的人,想通过自己的努力,改变现状逆风翻盘的人。人生敢闯才有机会,敢拼才有未来,不苦不累人生无味,不拼不博人生白活,干好了翻身,干不好大不了继续进厂打螺丝,每个人都要给自己拼搏一次的机会!
是不是割韭菜?
不存在割韭菜一说,主要是教你如何去引流做网站,只要你学会精准引流,以后在互联网不愁混不下去,所学到的东西价值远远超过你交的费用,花钱学习别人的经验跟方法付费是理所应当。不是教你做项目,8年互联网全职经验告诉你,花钱学做项目90%要被割韭菜,不信你可以去试试?
能看到这,说明你对这个项目是感兴趣的,多的也不说了,如果你有执行力,每天能挤出两小时至三小时左右的时间,闭眼加入就行。不存在什么割韭菜一说!简单一句话,我是怎么做的,你就1:1跟着我说的去做,按照我说的方法,保证可以做出效果!记住这是踏踏实实做项目,带着你,我们一起搞钱。
考虑清楚在上车,虚拟物品交易不支持退款!考虑充分,有耐心和执行力,拒绝三分钟热度,非短期项目不同于做网赚项目见效快死得也快,做站长追求的是长期稳定的事业,靠积累,需沉淀,不过时,做的时间越久收入越高。网站既可以当主业做,也可以当一个副业去做。
价格绝对良心!你去外面学个煎饼果子都要花几千块,相对于实体,互联网创业投资成本真的是低的不能再低了,很多人做实体投资大几万,几十万最后赔的血本无归,我们要用最小的成本去挑战最大的希望,做互联网最大的好处就是,既能在家挣米,又能同时兼顾家人,不用再去外面东奔西跑了,何乐不为。
内容包含:
1、一对一扶持搭建同款网站
2、自动更新(每天自动同步更新到你的网站)
3、对接支付端口(微信,支付宝)
4、无水印课程
5、赠送网站源码(自带1万+课程数据)
6、拥有网站的所有权,完全独立,自主管理,自主收款,所有收益归全归你!
7、免费售后服务时间24个月
8、提供整套网站运营数据和方案(1:1复制我的模式,全套方法复制给你,你只需要跟着我的脚步一步一步走)
9、自用独家推广引流方案(长期稳定,不封号,非市面上常见的废号引流)
老刘花了大量时间总结和踩坑,整理出来的最适合普通人做的六种引流方案,六种引流渠道同时进行,被动加人,绝非烂大街技术,前期日引50+精准创业粉,转化率极高,每天需要拿出1-2个小时去执行,这点时间都拿不出来的不要来找我了(能解决别人解决不了的问题,你就能赚别人赚不到的钱,自古以来的商业模式都是如此)。
【成年人的世界,永远都只是价值交换】花钱买别人的经验和方法,自然能让你少走很多弯路,少踩很多坑,这就是成功最快的方法,自己研究看似省钱,但是最后都会体现在其他地方;任何事情,最大的成本就是时间成本,如果有人带着你3天就能解决的事情,千万不要自己去一点点摸索3个月,因为你所付出的时间和精力成本已经远远超过了你选择付费学习的成本 。
【温馨提示】:
1. 磨磨唧唧的千万别来(这种人只适合打工,不适合创业)
2. 维持不住生活的别来(我不想做你的救命稻草)
3. 想一夜暴富的千万别来(这里不适合你)
4. 怕失败的别来,这种人也只适合打工(不用投资,老板还给你钱)
5. 没有执行力的别来(拒绝空想家)
6. 没耐心,看不懂这篇文章的不要咨询(没有基础认知,我们也帮不到你)
客服 QQ:29219557
客服微信:jack888dg
申请添加好友时,请备注 “ 分站加盟 ”
该项目为付费内容,请点击下方 “立即购买” 付费后获取
欢迎您的来访,感谢您选购本站优质资源(VIP会员:98元/月 --- 698元/年)